Книжное расстояние между столбиками под лаги пола

Дополнение к странице → Опорные столбики под лаги

Когда я определял расстояние между столбиками под лаги, то руководствовался какой-то статьёй из Интернета. В той же статье рекомендовали учитывать вариант прокладки между лагами утеплителя. В конце концов, при толщине половой доски в 35 мм и предполагаемой ширине ковра минеральной ваты в 60 см (120/2). Расстояние между лагами выбралось в 58 см (2 см на сжатие ваты). Учитывая, что сама лага имеет ширину в 7,5 см, то расстояние между осями или центрами столбиков вышло 65,5 см. В более старых бумажных изданиях эти расстояния немного другие и чёткого расчета нигде не видел.

Тем не менее, кому интересно, далее выписки из книжек.

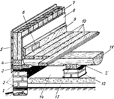
По подготовке из тощего бетона выкладывают кирпичные столбики с шагом (по осям) 0,7…0,9 м и с расстоянием между рядами 100…120 см. Поверх столбиков укладывают два слоя рубероида или толя и антисептированную деревянную подкладку толщиной 3 см (рис. 7.24). На них опирают лаги, поверх лаг укладывают дощатый пол

Устройство досчатого пола на лагах
Рис. 7.24. Холодный пол с теплым подпольем
1 - цоколь; 2 - гидроизоляция из двух слоев рубероида; 3 - нижняя обвязка;
4 - верхняя обвязка; 5 - наружная обшивка шпунтованными досками;
6 - пластинка из цветного металла с отверстиями; 7-наружная стена из досок;
8 - штукатурка; 9- плинтус; 10 - дощатый пол; 11 -лага; 12 - столбик из кирпича;
13 - антисептированная деревянная подкладка; 14 - подполье

Х.А. Штерн. Столярно-плотничные работы. Стройиздат 1992г

Под лаги, опирающиеся на кирпичные столбики, для обеспечения гидроизоляции нужно подкладывать обрезки рубероида, который также защищает древесину от плесени.

Дощатые полы настилают прямо по балкам, если их шаг сравнительно небольшой. При редко расположенных балках на них дополнительно укладывают лаги с нужным шагом, а по ним уже устраивают дощатый пол. Лаги располагают на расстоянии между осями 800-850 мм для досок толщиной 35-40 мм. При более толстых досках шаг лаг можно увеличить до 1 м, при более тонких – уменьшить до 500-600 мм. Влажность досок не должна быть выше 12%.

Деревянный пол должен иметь нулевой уклон, поэтому балки и лаги нужно постоянно проверять с помощью уровня или нивелира вдоль и поперек помещения. Шаг столбиков зависит от толщины лаг – при толщине 40 мм - до 900, при 50 - до 1100, при 60 - 1200-1300 мм. Шаг столбиков в поперечном направлении зависит от толщины половой доски.

Строительство дома от фундамента до крыши

Максимальное расстояние между рядами выбирается от сечения лаги. Я использовал Калькулятор для расчёта несущей способности однопролётных деревянных балок" → (скачать). У меня для лаг 150х75 вышло больше 2,5 метров, но ширина всего помещения 6,2 метра. Отсюда расстояние по рядам примерно в 2 метра

Вообще, конечно, расстояния можно брать и большие, но тогда больше вероятность возникновения всевозможных прогибов и скрипов. Многое зависит от того, что в последствии будет стоять на этом полу, поставят будущие жильцы какое-нибудь пианино или кадку с пальмой и станет пол выгнутым или скрипучим.

Дополнение к странице → Опорные столбики под лаги



Дальше на ⇒
Подготовка бруса для лаг

⇐ Назад на
Опорные столбики под лаги