Уже при вёрстке этого сайта озадачился вопросом, а как сжимать (сплачивать) половые доски правильно? Помню тогда, когда у меня возникла потребность в запрессовке шпонированной половой доски в паз, я зашёл в магазин строительного оборудования и ничего подходящего для этой работы не нашёл. Может я чего-то не понял или не там искал, но теперь просмотрев приёмы стягивания половых досок на страницах бумажных изданий, решил, что мой способ сжатия автомобильным домкратом ни чем не хуже чудной скобы Смолякова. По крайней мере не надо забивать эту скобу в лагу.
Далее на странице представлены выписки и рисунки из двух книжек строительной тематики. Не везде эту трезубую скобу называют скобой Смолякова, но подобную приблуду видел ещё в двух бумажных изданиях. (например глава → Досчатые полы первого этажа из книги Шепелева А.М. "Как построить сельский дом") Вероятно забивка доски в паз деревянными клинами и является "правильным" методом.
Тем не менее деревянными клинами работать быстрее → Настилка половой доски со сплачиванием клиньями
Вторую доску прикладывают к первой и прижимают к ней с помощью клиньев. Клинья забивают между доской и планкой, упирающейся во вбитые в лаги скобы. Зазор между половыми досками не должен превышать 1 мм. Доску прибивают гвоздями со сплющенными шляпками, утапливая их в древесину на 5 мм.
Рис. 2.14: Сплачивание досок при настилке пола:
а - обычными скобами и клиньями; б - специальными скобами;
1 - скоба обыкновенная; 2,4,7 - клинья; 3 - кусок доски; 5 - скоба Смолякова; 6 - лага
Прочитав соответствующую главу из следующей книги приспособить её к своему полу не смог.
• Если лаги в толщину всего 75 мм, то такую скобу туда уже не забьешь.
• По книге досок сжимается за раз много, но при креплении в паз шурупом можно прикрутить только одну. То есть, если не хотите видеть гвозди, то скобу придётся перебивать для каждой доски.

Рис. 7.21. Настилка досок пола
1 - доски пола; 2 - лаги; 3 - подкладка (древесно-волокнистая плита,); 4-клинья; 5 - скоба с тремя заостренными концами
Доски пола плотно сплачиваются друг с другом, чтобы зазоры не превышали 1 мм. Для сплачивания полов используют скобы с двумя клиньями. Скоба может иметь три заостренных конца (рис. 7.21). Сплачивают и прибивают к лагам сразу 3…5 досок. Эффективен сжим с клиньями и с передвижной скобой (рис. 7.22). Сплачивая доски пола с помощью сжима, используют клинья, изготовленные из обрезков доски пола (с пазом и гребнем). В каждый зажим вставлены два клина: рабочий и промежуточный, обтесанные односторонне под углом 15…20°. На практике этот угол определяют как отношение короткого катета клина к длинному (1:6).
Промежуточный клин плотно прилегает к сжиму, рабочий клин со стороны пола имеет гребень, входящий в паз прибиваемой доски. Толщина рабочего клина равна толщине прибиваемой доски пола. Промежуточный клин толще на 10…15 мм. Сплачиваемые доски пола сплачивают двумя сжимами, при досках длиннее 4 м – тремя сжимами: один сжим устанавливают на лаге в середине помещения, остальные два – на вторых крайних лагах, считая от стен.
Сплачивание досок пола. На прибитую доску пола кладут 8…15 досок, чтобы их гребни плотно входили в пазы. Сжимы на лагах устанавливают так, чтобы зазор до уложенной доски соответствовал толщине узкого места двух клиньев. К сжиму на лаге укладывают промежуточный клин, в зазор между уложенным полом вкладывают другой (рабочий) клин и ударами молотка по торцу рабочего клина сплачивают доски. Клинья у сжимов забивают постепенно, переходя от сжима к сжиму и контролируя отсутствие зазоров в стыках досок. При затруднении входа гребня в паз по длине доски, ударами молотка через деревянную подкладку, загоняют его в паз. Прекращают забивку клиньев после плотного соединения кромок досок. Затем каждую доску пола прибивают к лаге двумя гвоздями (см. разд. 8),
Крайние (последние) доски пола в помещении сплачивают без сжимов. Последние 2…4 доски сплачивают к прибитым доскам ударами молотка (через прокладки). У завершающей пол доски обрезают нижний край паза. При сплачивании последней доски пола применяют клин (рис. 7.23), вставляя его между укладываемой доской и фанерной прокладкой, защищающей стену от повреждения.
При укладке полов из недостаточно сухих досок их сплачивают, но прибивают лишь каждую пятую доску (к каждой второй лаге) гвоздями длиной 75 см. Затем после высыхания досок гвозди вынимают, очищают зазоры между досками. Вновь плотно сплачивают доски друг с другом, прибивая их гвоздями ко всем лагам. Затем пол строгают паркетной строгальной машиной, а труднодоступные места (около стен и в углах) – электрофуганком или вручную.
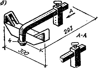
Рис. 7.22. Сплачивание пола клиновидным сжимом с передвижной скобой
а - укрепленный на лаге зажим; б - детали зажима;
1 - лага; 2 - зажим; 3 - клинья; 4 - скоба
Рис. 7.23. Установка завершающей половой доски
1 - клееная фанера; 2 - деревянная подкладка; 3 - клин
Приспособление с передвижной скобой, описанное и нарисованное в конце выписки возможно эффективнее и проще домкрата с тисками.
Деревянными клинами работать быстрее → Настилка половой доски со сплачиванием клиньями
Книжное описание монтажа деревянного пола так же на странице → Досчатые полы первого этажа
По этой же теме ⇒
Досчатые полы первого этажа
⇐ Назад на
Укладка половой доски