Установка пластиковых окон по ГОСТ

Перечитав ГОСТ Р 52749-2007 понял, что почти все окна установленные на моих глазах были смонтированы неправильно. Причём речь не идёт о самостоятельной установке - наблюдать приходилось за работой серьёзных фирм и частных лавочек. Никакой дополнительной пароизоляции эти ребята не делали. Тем не менее, все эти окна стоят десятилетия и никаких особых проблем не создают. Я сильно сомневаюсь в пользе использования ПСУЛ, а в некоторых случаях и пароизоляционных лент. Свои соображения по этому поводу разместил на другой странице – Использование ПСУЛ и прочих лент. Здесь же всё по правильному, то есть по ГОСТ.

Далее несколько выписок из ГОСТ Р 52749-2007 "Швы монтажные оконные с паропроницаемыми саморасширяюшимися лентами"

Текст и схемы из ГОСТ Р 52749-2007 (скачать pdf)

5.1.1 Оконный монтажный шов является изделием, изготовляемым в условиях строительной площадки или на домостроительном предприятии. Конструкция монтажного шва с паропроницаемыми лентами включает в себя, как правило, три слоя, имеющих различное функциональное назначение:

– наружный - водоизоляционный, паропроницаемый;

– средний (центральный) - тепло-, звукоизоляционный;

– внутренний - пароизоляционный.

Допускается устройство дополнительного четвертого водо-, пароизоляционного слоя между средним слоем шва и поверхностью проема, устраиваемого для предотвращения проникновения в шов диффузионной или конденсатной влаги из материала стены.

Каждый из слоев монтажного шва может кроме основных выполнять и дополнительные функции (например, наружный слой может иметь существенное термическое сопротивление), что необходимо учитывать при определении расчетных характеристик конструкции шва. Условия работы слоев монтажного шва определяют, исходя из комплекса нагрузок (воздействий) на шов, возникающих во время его эксплуатации, приведенных в приложении Б, таблица Б.1.

Принципиальная схема монтажного шва приведена на рисунке 1.

Принципиальная схема оконного монтажного шва
I – наружный водоизоляционный паропроницаемый слой;
II – средний (центральный) тепло- звукоизоляционный слой;
III – внутренний пароизоляционный слой
Рисунок 1 – Принципиальная схема монтажного шва

Текст и схемы из ГОСТ Р 52749-2007 (скачать pdf)

Приложение А
(рекомендуемое)

Примеры конструктивных решений монтажных швов

оконный шов с отделкой откоса
1 - пенный утеплитель; 2 - изоляционная саморасширяющаяся паропроницаемая лента (ПСУЛ); 3 - рамный дюбель; 4 - герметик; 5 - пароизоляционная лента; 6 - компенсатор монтажного зазора (рекомендуется для утепления откоса в зданиях старой постройки, может применяться для утепления откоса и изоляции пенного утеплителя от плоскости возможной конденсации); 7 - штукатурный слой внутреннего откоса (с фаской для слоя герметика)
Рисунок А.1 - Узел бокового примыкания оконного блока к проему с четвертью в стене из кирпича; с отделкой внутреннего откоса штукатурным раствором

оконный шов с четвертью стены из кирпича
1 - штукатурный слой наружного откоса (с фаской для слоя герметика); 2 - строительный шуруп; 3 - герметик; 4 - фальшчетверть из уголка; 5 - изоляционная саморасширяющаяся паропроницаемая лента (ПСУЛ); 6 - рамный дюбель; 7 - пенный утеплитель; 8 - герметик; 9 - пароизоляционная лента; 10 - элемент отделки внутреннего откоса; 11 - полость между неутепленной однослойной стеной и элементом отделки откоса (рекомендуется заполнять теплоизоляционным материалом)
Рисунок А.2 - Узел бокового примыкания оконного блока к проему без четверти в стене из кирпича и с отделкой внутреннего откоса облицовочной панелью

оконный шов с четвертью слоистой стены
1 - пенный утеплитель; 2 - изоляционная саморасширяющаяся паропроницаемая лента (ПСУЛ); 3- гибкая анкерная пластина; 4 - герметик; 5 - пароизоляционная лента; 6 - штукатурный слой внутреннего откоса (с фаской для слоя герметика); 7 - армирующая сетка; 8 - дюбель со стопорным шурупом
Рисунок А.3 - Узел бокового примыкания оконного блока к проему с четвертью слоистой стены из кирпича с эффективным утеплителем и отделкой внутреннего откоса штукатурным раствором

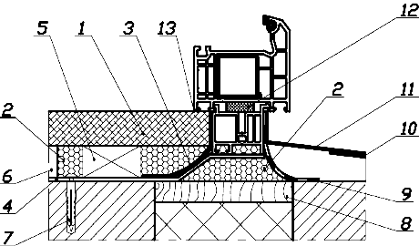
оконный шов Узел нижнего примыкания
1 - подоконная доска; 2 - пенный утеплитель; 3 - пароизоляционная лента; 4 - гибкая анкерная пластина; 5 - опорная колодка под подоконную доску; 6 - штукатурный раствор; 7 - дюбель со стопорным шурупом; 8 - вкладыш из антисептированного пиломатериала или выравнивающий слой из штукатурного раствора (рекомендуется только для нижнего узла); 9 - водоизоляционная паропроницаемая лента; 10 - шумопоглощающая прокладка; 11 - слив; 12 - изоляционная саморасширяющаяся паропроницаемая лента (ПСУЛ); 13 - тонкий слой герметика
Рисунок А.4 - Узел нижнего примыкания оконного блока, подоконника и слива к проему слоистой стены с эффективным утеплителем

оконный шов Узел верхнего примыкания
1 - вкладыш из атисептированного пиломатериала; 2 - дюбель со стопорным шурупом; 3 - армирующая сетка; 4 - штукатурный слой внутреннего откоса (с фаской для слоя герметика), возможна отделка листовым материалом (влагостойкая панель); 5 - гибкая анкерная пластина; 6 - пароизоляционная лента; 7 - герметик; 8 - изоляционная саморасширяющаяся паропроницаемая лента (ПСУЛ); 9 - пенный утеплитель; 10 - стальная перемычка; 11 - антикоррозийное покрытие
Рисунок А.5 - Узел верхнего примыкания оконного блока к перемычке из стального уголка в проеме многослойной стены с облицовкой кирпичом

Узел бокового примыкания оконного блока
1 - пенный утеплитель; 2 - изоляционная саморасширяющаяся паропроницаемая лента (ПСУЛ); 3 - рамный дюбель; 4 - герметик; 5 - пароизоляционная лента; 6 - панель отделки внутреннего откоса; 7 - штукатурный выравнивающий слой внутреннего откоса
Рисунок А.6 - Узел бокового примыкания оконного блока к проему с четвертью в стене из ячеистобетонных блоков (плотностью 400 - 450 кг/м³) с облицовкой кирпичом и отделкой внутреннего откоса панелью

Примыкание оконного блока к стене из бетона
1 - элемент отделки наружного оконного откоса; 2 - изоляционная саморасширяюшаяся паропроницаемая лента (ПСУЛ); 3 - водоизоляционная паропроницаемая лента; 4 - рамный дюбель; 5 - пенный утеплитель; 6 - нащельник из ПВХ в комбинации с пароизоляционным вкладышем
Рисунок А.7 - Узел бокового примыкания оконного блока к проему стены из бетона с наружним утеплением фасада и установкой внутреннего нащельника с пароизоляционным вкладышем

Текст и схемы из ГОСТ Р 52749-2007 (скачать pdf)

Б.6 Устройство монтажного шва

Б.6.1 Устройство монтажного шва выполняют в соответствии с проектно-конструкторским решением, согласно технологической документации и требованиям настоящего стандарта. Монтажный зазор заполняют послойно с учетом температурных и влажностных условий окружающей среды, а также рекомендаций производителей изоляционных материалов. Порядок устройства монтажных оконных швов в условиях температур ниже рекомен-дованных производителями изоляционных материалов (например, с использованием обогрева материалов и поверхностей строительных конструкций) должен быть предусмотрен в технологической документации или стандартах организаций.

Б.6.2 При использовании в наружном слое монтажного шва саморасширяющихся уплотнительных лент учитывают следующие требования:

– для обеспечивания плотного примыкания в горизонтальном и вертикальном направлениях шва ленты раскраивают по длине с припуском 1,0 - 1,5 см на каждую сторону;

- ленты наклеивают монтажным самоклеящимся слоем на расстоянии 3 - 5 мм от грани четверти по внутренней поверхности оконного проема;

– если четверть, выполненная из кирпича, имеет расшивку или углубления в швах, то ленту крепят непосредственно к коробке оконного блока до установки ее в проем;

– перелом лент под углом не допускается;

– возможен изгиб ленты при изоляции шва оконного блока арочной или круглой конфигурации;

– нанесение штукатурного слоя, шпатлевки или красящих составов на паропроницаемый материал наружного слоя не допускается.

Б.6.3 Для устройства центрального тепло- и звукоизоляционного слоя рекомендуется применение пенного уплотнителя. Заполнение монтажного зазора пенным уплотнителем следу-ет выполнять при полностью собранном и окончательно закрепленном оконном блоке, при этом следует контролировать полноту и степень заполнения монтажного зазора.

Перед началом работ следует провести пробный тест на первичное расширение пенного материала в условиях окружающей среды монтажной зоны и при работе не допускать выхода излишков пенного утеплителя за внутреннюю плоскость профиля коробки оконного блока. Срезка излишков пенного утеплителя с внутренней стороны монтажного шва допускается при условии устройства сплошного пароизоляционного слоя с использованием пароизоляционной ленты или мастики.

В случае применения профилей коробок оконных блоков шириной более 80 мм и если ширина монтажного зазора превышает размеры, предусмотренные настоящим стандартом, более чем в 1,5 раза, заполнение зазора следует выполнять послойно, с интервалами между слоями по технологии, рекомендованной производителем пенного утеплителя.

Б.6.4 Внутренний пароизоляционный слой устанавливают непрерывно по всему контуру стенового проема.

При использовании для изоляции внутреннего слоя пароизоляционных ленточных материалов следует руководствоваться следующими требованиями:

– раскрой лент по длине следует выполнять с припуском для нахлеста в местах угловых соединений;

– соединение лент с поверхностями оконного блока и стенового проема по всему периметру должно быть плотным, без складок и вздутий;

– при установке пароизоляционной ленты под штукатурный слой следует применять ленты с наружным покрытием, которое обеспечивает необходимую адгезию с штукатурным раствором;

– допускается стыковка лент по длине на прямолинейных участках с нахлестом не менее 1/2 номинальной ширины ленты.

Б.6.5 Места примыкания накладных внутренних откосов (независимо от их конструкции) к коробке оконного блока и монтажному шву должны быть герметизированы, при этом должны выполняться мероприятия, исключающие в период эксплуатации проявление трещин и щелей (например, уплотнение примыканий герметиками или другими материалами, обладающими достаточной деформационной устойчивостью).

Б.6.6 При установке оконного слива в узлах примыкания к стеновому проему и коробке оконного блока необходимо обеспечивать условия, исключающие попадание влаги в монтажный шов, а под сливами устанавливать прокладки (гасители), снижающие шумовое воздействие дождевых капель.

Б.6.7 Примыкание подоконной доски (подоконника) к коробке оконного блока должно быть плотным, герметичным и устойчивым к деформациям. Допускается установка подоконника на опорные несущие колодки и пенный уплотнитель.

Текст и схемы из ГОСТ Р 52749-2007 (скачать pdf)

Я сильно сомневаюсь в пользе использования ПСУЛ, а в некоторых случаях и пароизоляционных лент. Свои соображения по этому поводу разместил на другой странице -

Дальше ⇒
Рубка оконных венцов

⇐ Из темы
Установка пластиковых окон