
Подъём
стены домкратом
Наиболее частый дефект рубленых стен — загнивание нижних венцов.
Заменяют нижние загнившие венцы следующим образом. Дом поднимают домкратом, установленным под первым венцом на подкладках. Затем бревна выше сменяемых скрепляют сжимами на болтах и укрепляют их подкосами. Сжимы ставят через 2-4 м по длине стены. Загнившие венцы заменяют новыми или кирпичной кладкой. При смене нижнего венца его нижнюю поверхность смолят и обшивают толем.
Внимание
В каркасно-засыпных стенах чаще всего загнивают обшивка и элементы каркаса, попадающие в зону частого увлажнения. Ремонтируя каркас, полностью удаляют гнилую древесину. Временно укрепляют загнившие стойки, устанавливая снаружи и внутри новые накладки, которые прибивают гвоздями.

Рис. а — укрепление каркасно-засыпных стен со сгнившими концами стоек:
1 — стойки; 2 — новые накладки; 3 — сгнившие концы стоек; 4 — обвязочный брус; 5 — гвозди длиной 15 см;
Для укрепления вспучившихся деревянных стен устанавливают вертикальные сжимы, состоящие из двух брусьев, стянутых болтами диаметром 1,6-1,5 мм, через 1-1,5 м по высоте. В одноэтажном доме применяют брусья сечением 120-150 мм. Отверстия для болтов делают овальной формы, учитывая возможную осадку стены.

Рис. б — устройство сжима на стене (фасад, план, разрез):
1 — брус сжима сечением 12x15 см; 2 — отверстие овальной формы; 3 — болт; 4 — зазор на осадку; 5 — шпонка; 6 — сплошной болт
Из темы → Выем нижнего венца. В другой книге:
• Ремонт стен бревенчатых и брусчатых домов
• Способы ремонта бревенчатых стен без подъёма
• Вывешивание бревенчатых стен и подъём дома


Рис. в — вывешивание стен дома при помощи сжима и подкосов:
1 — фундамент; 2 — подкос; 3 — болты; 4 — подвешенная стена; 5 — бруски-стяжки; 6 — заменяемые венцы дома;
Рис. г — вывешивание стен дома, скользящих между сжимами:
1 — стойки; 2 — заменяемые венцы; 3 — стальной штырь; 4 — скобы; 5 — бруски; 6 — зазоры; 7 — отверстия для штырей;

Рис. д — вывешивание стен дома по стойкам со скользящими сжимами:
1 — стойки; 2 — отверстия для штырей; 3 — стальной штырь; 4 — болты; 5 — бруски; 6 — зазоры;
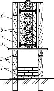
Рис. е — подъем сруба при помощи рычага

Рис. з — расположение венцов:
1 — первое, или нижнее;
2 — второе, или верхнее;
При неправильной припазовке бревен и установке шипов без зазора на осадку нередко происходит расхождение венцов и образование щелей. В этом случае проверяют все сопряжения стен с проемами и стойками, подрезают мешающие осадке места и после осадки стены проконопачивают. Промерзающие углы неоштукатуренных стен обшивают снаружи досками по войлоку. В каркасно-засыпных и щитовых домах стены могут промерзать из-за осадки утеплителя. В этом случае проводят дополнительную засыпку. Меняют засыпку в такой последовательности. Частично удаляют обшивку и засыпку, просушивают каркас и в случае необходимости ремонтируют его. Затем засыпают сухой шлак, минеральную вату или другой теплоизоляционный материал.

Рис. ж — проконопатка паза, припазовка бревен и установка шипов:I — проконопатка паза; II, III — правильная и неправильная припазовка; IV, V — правильная и неправильная установка шипов: 1 — стальная конопатка; 2 — слой пакли или мха; 3 — место промерзания; 4 — зазор на осадку до 3 см; 5 — нет зазора для шипа, при осадке паз расходится и промерзает.
Из темы → Выем нижнего венца. В другой книге:
• Ремонт стен бревенчатых и брусчатых домов
• Способы ремонта бревенчатых стен без подъёма
• Вывешивание бревенчатых стен и подъём дома
Дальше на ⇒
Ремонт фундамента подливкой
⇐ Из темы
Выем нижнего венца