Общие сведения и основные параметры лестниц. Оптимальный уклон лестничного марша. Что такое проступь и подступенок. Высота прохода над лестницей. Высота и ширина ступеней при различном уклоне и количестве ступеней из книги Самойлова «Строительство деревянного дома»
Лестницу деревянного дома строят также из древесины. Являясь связующим звеном между двумя разновысотными уровнями дома, лестница одновременно может служить и эффективным средством украшения интерьера Она подчеркивает выразительность выбранного стиля как интерьера (внутренние лестницы), так и архитектуры дома (наружные лестницы). Сегодня с уверенностью можно сказать, что лестницы поражают мир своим разнообразием и новизной дизайнерских решений. Можно встретить прямые лестницы и изогнутые под разными углами, винтовые и раздвижные, складные и переносные – вот далеко не полный перечень современных лестниц. Особенно это ярко выражено в новых особняках, коттеджах и офисах. Внешний вид, конструкции и способы изготовления лестниц различны и зависят от архитектуры и планировки здания, от мастерства изготовителя, материалов и инструментов, которыми он пользуется и еще от многих причин
Нужно отметить, что обладая многими полезными качествами, лестница является объектом повышенной опасности. Случаи травмирования людей, связанные с эксплуатацией лестницы, происходят чаще, чем с другими конструктивными элементами дома. Поэтому пост роение хорошей лестницы, отвечающей современным эстетическим требованиям, одновременно сводит к минимуму опасность, связанную с ее эксплуатацией. Кроме того, перемещения по лестнице связаны с определенной степенью неудобств и повышенными физическими нагрузками, что особенно важно для людей преклонного возраста и инвалидов. Над решением этих задач работают уже много поколений строителей и архитекторов в разных странах миpa. В результате многовекового опыта разработана определенная концепция оптимальных конструктивных решений лестниц, направленных на снижение уровня опасности и повышение степени удобств при их эксплуатации. Основные требования к конструкции лестницы и месте ее размещения можно свести к следующему:
– обеспечение безопасного, относительно быстрого перемещения с одного уровня на другой;
– лестница должна соответствовать архитектуре здания и интерьеру помещения, в котором она установлена;
– лестница должна располагаться в нужном месте, в котором она не оказывает отрицательного влияния на эксплуатацию здания, чтобы не создавать неудобства людям, проживающим в нем;
– адекватность конструкции и свойств материала, из которого она изготовлена. Прочность ее должна соответствовать нагрузкам, которые по всем предположениям могут на лестницу воздействовать;
– ширина лестничных маршей должна обеспечивать двухстороннее перемещение (в индивидуальных домах допускается одностороннее перемещение).
– подход к лестничному маршу должен быть свободным, поэтому нельзя располагать лестницу так, чтобы в этом промежутке находились конструктивные элементы здания или предметы мебели
– ширина ступеней лестницы должна быть такова, чтобы нога становилась на нее полной ступней, а высота между ступенями не превышет 17-19 см.
Эта
↓ страница к теме ↓
Лестница из
половых досок
– каждая лестница должна хорошо освещаться по всей своей длине. Особенно это касается первой и последней ступеней лестницы;
– при проектировании лестницы нужно придерживаться правила, что все ступени в пределах одного марша имеют одинаковый размер по высоте и ширине.
В реальных условиях, когда лестница строится для конкретной семьи, иногда допускают небольшие отклонения от этих требований. Но в любом случае параметры безопасности в конструкции любой лестницы должны быть главенствующими.
Основным конструктивным элементом лестницы является марш, представляющий ряд ступеней, количество которых зависит от высоты лестницы. Под высотой лестницы понимают ее вертикальную проекцию, разделяющую уровни чистого пола и различных высотных уровней (рис. 125). В зависимости от выбранного решения в лестнице может быть несколько маршей (чаще всего два). Количество ступеней в лестнице (независимо от количества маршей) находится в прямой зависимости от высоты лестницы и ступеней. К основным параметрам лестницы нужно, прежде всего, отнести высоту подъема, тип лестницы, площадь в плане, крутизну, число ступеней, а также их ширину и высоту. Эти параметры не являются независимыми, то есть их нельзя произвольно выбрать. К примеру, для прямой лестницы высота подъема и крутизна однозначно определяют площадь в плане и, наоборот, площадь в плане и высота подъема однозначно определяют крутизну. При проектировании сразу надо задать значения каких-то, в каждом конкретном случае определяющих, параметров, например, площадью в плане, тогда можно вычислить крутизну, которая в свою очередь определит число ступеней.
Рис. 125. Лестничный марш:
h - высота лестницы; b - ширина марша
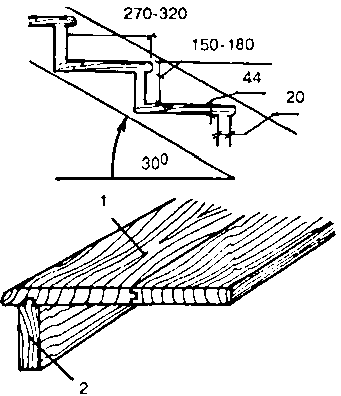
Основным показателем при расчете лестничного марша является его уклон (крутизна), который зависит от ширины и высоты ступеней лестницы. В строительной терминологии принято высоту ступени называть "высотой подступенка", а ее ширину - "шириной проступи" или "свесом". Для удобного перемещения по лестнице необходимо, чтобы поддерживалось соотношение между расстоянием, на которое человек поднимается или опускается, и расстоянием, на которое он передвигается вперед. Это соотношение и определит крутизну (уклон) лестницы, которая должна быть такой, чтобы отношение высоты марша к его горизонтальной проекции составляло 1:2 - 1:1,75 (то есть должны находиться в пределах 30°) (рис. 126).
Рис. 126. Оптимальный уклон лестничного марша (все размеры в мм.):
1 - проступь; 2 - подступенок
Удвоенная высота подступенка (b) и ширина проступи (a) должны быть равны среднему шагу человека:
2b + а = 57-64 см.
Размеры ступеней в зависимости от угла наклона лестничного марша отражены в таблице 23.
При выборе уклона лестничного марша нужно следить за тем, чтобы расстояние по вертикали от верхней плоскости любой ступени лестницы до потолка или других выступающих элементов здания было не меньше 2 м (рис. 127). Это правило в равной мере касается и лестничной площадки. При недостающей длине междуэтажного проема или наличии поперечных потолочных балок не всегда возможно сделать лестницу достаточно пологой. Но, увеличивая крутизну лестницы, мы автоматически снижаем степень удобства пользования ею. Поэтому иногда приходится принимать компромиссное решение, умышленно занижая расстояние от потолка до плоскости ступени. Но в любом случае снижать до расстояния меньше 180 см не следует. В крайнем случае, можно немного поступиться уклоном лестницы, увеличивая его до соотношения 1:1, т.е. 45°.
Рис. 127. Высота прохода над лестницей
| Высота этажа, м | Количество ступеней | Высота ступеней, (а) мм | Ширина ступеней, (b) мм | Уклон марша (а:b) |
|---|---|---|---|---|
| 2,25 | 12 | 188 | 260 | 1:1,38 |
| только для подвалов | 13 | 173 | 260 | 1:1,50 |
| 2,75 | 14 14 | 179 179 | 260 290 | 1:1,45 1:1,62 |
| 2,75 | 15 16 16 | 83 172 172 | 260 260 290 | 1:1,42 1:1,51 1:1,69 |
| 3,00 | 17 18 | 176 167 | 290 290 | 1:1,65 1:1,74 |
Строительными нормативами предусматривается ширина лестничного марша (расстояние от стены до ограждения или между двумя ограждениями) не менее 90 см, а расстояние между противоположными стенами не менее 110 см (рис. 128). При меньших размерах перемещение по лестничному маршу мебели и других громоздких вещей (особенно при поворотах на 90° или 180°) будет довольно затруднительно. В некоторых случаях допускается ширина лестничного марша до 80 см (при расположении лестницы в общей комнате, когда отсутствуют ограждающие стены).
Рис. 128. Наиболее благоприятная (А) и допустимая (Б) ширина лестничного марша
Дальше на ⇒
Конструктивные особенности деревянных лестниц
⇐ Назад на
Подъём провисших потолочных балок