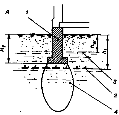
Приступая к выбору фундамента, следует определиться с терминами и параметрами, характеризующими сам фундамент и грунт-основание под ним (Рисунок 13, а).
Фундамент – это подземная часть здания, которая предназначена для передачи нагрузки от здания на грунт, залегающий на определенной глубине и являющийся основанием фундамента.


Рисунок 13. Схема фундамента и основания:
А – без подсыпки грунта; Б – с подсыпкой грунта;
1 – фундамент; 2 – граница промерзания грунта; 3 – уровень грунтовых вод; 4 – сжимаемая толща грунта; 5 – насыпной грунт
Глубина заложения фундамента (Hf) – расстояние от подошвы фундамента до поверхности земли.
Подстилающий слой грунта (основание – слой грунта, на который опирается подошва фундамента.
Расчетная глубина промерзания (hi) – положение границы промерзания относительно уровня грунта, принятое в качестве расчетной величины, узаконенной нормативными документами (нормами СНиП).
Вопрос застройщика
Если вокруг дома сделана подсыпка, то из чего следует исходить при назначении глубины заложения фундамента?
Разумеется, грунт будет промерзать с учетом подсыпанного грунта. Поэтому и глубину заложения фундамента в этом случае следует определять дт поверхности подсыпки (Рисунок 13, б).
Глубина промерзания в большей степени определяется климатическими условиями данного региона и соответствует наибольшей величине промерзания влажного глинистого грунта без снегового покрова в период наиболее низких возможных температур. В пределах Европейской и Сибирской части России граница промерзания меняется в широком диапазоне (Рисунок 14).
Глубина промерзания по городам России и ближнего зарубежья:
Рисунок 14. Карта расчетной глубины промерзания глинистых и суглинистых грунтов части Российской Федерации.
70 см – Краснодар, Калининград, Львов.
90 см – Ростов-на-Дону, Астрахань, Киев, Минск, Рига.
100 см – Таллинн, Харьков, Вильнюс.
120 см – Великие Луки, Волгоград, Курск, Псков, Смоленск.
140 см – Воронеж, Тверь, Санкт-Петербург, Москва, Новгород.
150 см – Вологда, Нижний Новгород, Кострома, Пенза, Саратов.
170 см – Ижевск, Казань, Котлас, Самара, Вятка, Ульяновск, Ярославль, Иваново.
180 см – Уфа, Караганда, Актюбинск.
190 см – Екатеринбург, Челябинск, Сыктывкар, Пермь.
210 см – Тобольск, Кустанай, Барнаул.
220 см – Омск, Новосибирск.
Это следует учитывать
– при постоянном проживании грунт под домом зимой прогревается и расчетную глубину промерзания можно уменьшить на 15…20%;
– для мелких и пылеватых песков и супесей значение глубины промерзания следует увеличить в 1,2 раза.
Разумеется, реальная глубина промерзания несколько меньше, чем расчетная. Но на то она и расчетная, чтобы избежать возможных разрушений дома при самых неудачных стечениях обстоятельств, предложенных погодой.
Всемирное потепление и глубина промерзания
Застройщики, решившие учесть общее потепление климата и на этом основании смягчить требования к заглублению фундамента и к утеплению стен, не совсем правы.
Крещенские морозы, накрывшие всю территорию России в январе 2006 г., держали температуру на 15…20°С ниже среднестатистической отметки, напрягая энергетиков и владельцев частных домов.
Технология ТИСЭ возведения столбчато-ленточного фундамента и трехслойных стен без "мостков холода" дает возможность сохранить высокие эксплуатационные характеристики индивидуального жилья в подобных климатических условиях.
Уровень грунтовых вод (hw) – положение зеркала грунтовых вод относительно уровня грунта в условно отрытом котловане (скважине).
Сжимаемая толща грунта – деформируемая часть грунта, воспринимающая нагрузку от фундамента.
Очевидно, что чем меньше глубина заложения фундамента, тем меньше стоимость строительства. Желание снизить затраты на возведение фундамента ведет к стремлению поднять подошву фундамента к поверхности грунта. Вместе с тем верхние слои грунта не всегда могут удовлетворять требованиям, предъявляемым к основанию сооружения: они имеют Недостаточную и неравномерную прочность, подвержены пучинистым явлениям, чем способны вызвать разрушение фундамента и самого строения.
Проектирование фундамента связано не только с выбором его конструкции и глубины заложения, но и с определением его геометрических параметров, главным из которых является площадь подошвы фундамента. Именно этот параметр окажет решающее влияние на "поведение" строения в процессе его эксплуатации. Недостаточная площадь опоры приведет к недопустимой просадке сооружения, а неравномерность просадки под ним – к разрушению возведенного строения. Излишне большая площадь подошвы напрямую ведет к увеличению расхода материалов и затрат, расходуемых на возведение фундамента.
Определиться с требуемой площадью подошвы фундамента можно через проведение проектировочных расчетов. В строительной практике предусмотрено выполнение расчетов фундамента по двум группам предельных состояний: по несущей способности основания и по допустимым деформациям сооружений. Если первый расчет позволяет определить площадь подошвы фундамента, то второй даст возможность избежать разрушения самого дома от неравномерности в осадке фундамента.
Расчет фундамента по несущей способности основания (информация для любознательных застройщиков)
Целью расчета оснований по несущей способности является оценка прочности и устойчивости грунта-основания под подошвой фундамента от воздействия эксплуатационных нагрузок.
Восприятие нагрузки фундаментом сопровождается его осадкой, которая обусловлена уплотнением грунта и потерей его устойчивости, характеризуемой деформационными сдвигами слоев. Величина осадки (δ) зависит не только от прочностных характеристик грунта, но и от значения прилагаемого усилия (F) Рисунок 15), как у пружины, величина сжатия которой зависит от её жесткости и от приложенной силы.
График зависимости осадки фундамента от нагрузки
На графике можно выделить типичные участки, характеризующие деформационно-напряженные процессы, проходящие в основании и сопровождающиеся перемещением и уплотнением грунта (Рисунок 16):
ОА – фаза упругих деформаций (Рисунок 16, а);
АБ – фаза уплотнения и местных сдвигов (Рисунок 16, б);
БВ – фаза сдвигов и начало бокового уплотнения (Рисунок 16, в);
ВГ – фаза выпора (Рисунок 16, г);
ГД – фаза преобладающего бокового уплотнения (Рисунок 16, д).
Рисунок 16. Схема развития деформаций и перемещений грунта:
А – фаза упругих деформаций; Б – фаза уплотнения и местных сдвигов; В – фаза развития сдвигов и начало бокового уплотнения; Г – фаза выпора; Д – фаза преобладающего бокового уплотнения;
1 – нагрузка; 2 – фундамент; 3 – зона упругих деформаций; 4 – зона сдвиговых деформаций; 5 – выпор грунта; 6 – ядро уплотненного грунта; 7 – зона бокового уплотнения
Наиболее востребованные фазы работы основания, которые используются в условиях строительства – ОА, АБ и начальная часть фазы БВ, где преобладающими являются упругие деформации основания. Каждому типу фундамента соответствует своя фаза деформаций:
ОА – для фундамента в виде плит, где давление на грунт невелико;
АБ – ленточный мелкозаглубленный фундамент;
АБ (конец) и БВ – столбчатый фундамент.
Остальные фазы работы основания (ГД) реализуются в основном при создании свайных фундаментов, применяемых в индустриальном строительстве (забивные сваи).
При возведении столбчато-ленточного фундамента по технологии ТИСЭ уровень напряжений в основании достаточно высок: задействуются вторая половина фазы АБ, фаза БВ и даже ВГ. Работа основания в широком диапазоне упругих деформаций обеспечивает "мягкое" восприятие нагрузки от веса возведенного строения.
Расчет оснований по несущей способности (для фаз ОА, АБ, начало БВ) выполняют через определение требуемой площади подошвы фундамента по следующей формуле:
S > γnF/γc Ro , где
S – площадь подошвы фундамента (см²);
F – расчетная нагрузка на основание (общий вес дома, в том числе фундамент, полезная нагрузка, снеговой покров…) (кг);
γn = 1,2 – коэффициент надежности;
γc – коэффициент условий работы имеет следующие величины:
1.0 – глина пластичная, сооружение жесткой конструкции (каменные стены);
1.1 – глина пластичная, сооружения нежесткой конструкции (деревянные или каркасные стены) и жесткой конструкции длинные, с соотношением длины к высоте больше 4;
1.2 – глина слабопластичная, пески пылеватые маловлажные, строения нежесткие и жесткие короткие с соотношением длины к высоте меньше 1,5;
1.2 -- крупный песок, строения жесткие длинные;
1.3 – пески мелкие, сооружения любой жесткости;
1.4 – крупный песок, сооружения нежесткие и жесткие длинные;
Ro – условное расчетное сопротивление грунта основания для фундаментов с глубиной заложения 1,5…2 м (определяется по таблицам 4…8).
| Крупнообломочные грунты | Ro(кг/см²) |
|---|---|
| Галька или щебень с заполнителем: | |
| песчаным | 6,0 |
| пылевато-глинистым | 4,5 |
| Гравий с заполнителем: | |
| песчаным | 5,0 |
| пылевато-глинистым | 4,0 |
| Пески | Ro (кг/см²) | |||
|---|---|---|---|---|
| плотные пески | средней плотности | |||
| Крупные | 4,5 | 3,5 | ||
| Средней крупности | 3,5 | 2,5 | ||
| Мелкие | ||||
| маловлажные | 3 | 2 | ||
| влажные | 2,5 | 1,5 | ||
| Пылеватые: | ||||
| маловлажные | 2,5 | 2 | ||
| влажные | 2,0 | 1,5 | ||
| Пылевато-глинистые грунты | Коэф.пористости ε | Ro (кг/см²) | |
|---|---|---|---|
| Сухой грунт | Влажный грунт | ||
| Супеси | 0,3 | 4 | 3,5 |
| 0,5 | 3 | 2,5 | |
| 0,7 | 2,5 | 2 | |
| Суглинки | 0,3 | 4 | 3,5 |
| 0,5 | 3 | 2,5 | |
| 0,7 | 2,5 | 1,8 | |
| 1 | 2 | 1 | |
| Глины | 0,3 | 9 | 6 |
| 0,5 | 6 | 4 | |
| 0,6…0,8 | 5…3 | 3…2 | |
| 1,1 | 2,5 | 1 | |
Расчетное сопротивление глинистых грунтов и его влажность существенно зависят от пористости грунта ε (отношение объема пор к объему твердых частиц). Для новичка в строительстве этот показатель оценить в реальных условиях достаточно сложно, т.к. извлеченный грунт в свободном состоянии уже не обладает теми показателями, какие он имел на глубине, находясь под давлением.
Автором предложено связать пористость, а следовательно, и несущую способность грунта с глубиной его заложения в зависимости от того, по какую сторону границы промерзания находится подошва фундамента.
Любой грунт при увлажнении проседает и уплотняется. В процессе своего существования пучинистый грунт, расположенный ниже глубины промерзания, уплотняется до состояния "дальше некуда". Ничто не меняет это состояние в течение многих и многих десятков и сотен лет. В то же время грунт, находящийся выше глубины промерзания, постоянно насыщается влагой и при сезонном промораживании увеличивается в объеме. Влага, находящаяся в порах, увеличивает объем этих пор на 10%. Таким образом, грунт, находящийся выше границы промерзания, ежегодно "встряхивается", становясь пористым. Глинистый грунт, находящийся ниже глубины промерзания, обладает минимальной (ε = 0,3) пористостью и максимальной прочностью.
Просадочные глинистые грунты в сухом состоянии имеют повышенную пористость и вместе с тем обладают высокой механической прочностью, обусловленной сильными структурными связями (табл. 7).
| Просадочные грунты | Плотность грунта в сухом состоянии (кг/л) | Ro (кг/см²) | |
|---|---|---|---|
| плотные пески | средней плотности | ||
| Супеси | 1,35 | 3,0 | 1,5 |
| 1,55 | 3,5 | 1,8 | |
| Суглинки | 1,35 | 3,5 | 1,8 |
| 1,55 | 4,0 | 2,0 | |
| Насыпные грунты | Ro (кг/см²) | |
|---|---|---|
| слабой влажности | повышенной влажности | |
| Насыпи, возведенные планомерно и с послойным уплотнением | 2,5… 1,8 | 2,0.. .1,5 |
| Отвалы грунтов и отходов производства: | ||
| – с уплотнением | 2,5…1,8 | 2,0… 1,5 |
| – без уплотнения | 1,8…1,2 | 1,5…1,0 |
| Свалка грунтов и отходов производства: | ||
| – с уплотнением | 1,5…1,2 | 1,2…1,0 |
| – без уплотнения | 1,2…1,0 | 1,0…0,8 |
После механического уплотнения просадочных грунтов природного сложения (трамбование) происходит разрушение жесткого каркаса и потеря прочности:
– прочность сухой супеси – 2,0…2,5 кг/см²;
– прочность сухого суглинка – 2,5…3,0 кг/см².
Большему значению расчетного сопротивления насыпных грунтов соответствуют крупные, средние и мелкие пески, шлаки…
Меньшему значению – пески пылеватые, супеси, суглинки, глины и золы.
Пример расчета фундамента по несущей способности грунта
Жилой каменный дом 7x8 м в два этажа имеет одну внутреннюю несущую стену. Вес дома с учетом снегового покрова и полезной нагрузки – около 180 т. Фундамент – заглубленный. Грунт – суглинок увлажненный (несущая способность 3,5 кг/см²)
Площадь подошвы фундамента определяется по формуле:
S > γnF/γc Ro, где
γn = 1,2
F = 180000 кг
γc = 1,0
Ro = 3,5 кг/см²
S > 1,2-180000 / 1,0 · 3,5 = 61800 cм² = 6,18 м²
При общей длине фундамента – около 35 м ширина подошвы фундамента должна быть не менее 6,18 / 35 = 0,18 м.
Влияние сейсмичности на несущую способность грунта
Задаваясь той или иной величиной расчетного сопротивления грунта, следует учитывать, что при одновременном воздействии статической нагрузки и вибраций прочность грунта снижается. Грунт, как говорят специалисты, приобретает свойства псевдожидкого состояния.
Индивидуальные застройщики, решившие возводить сейсмостойкий фундамент своими силами, должны учитывать уменьшение несущей способности грунта при сейсмических вибрациях. Ориентировочно табличную величину расчетного сопротивления грунта необходимо уменьшить в 1,5 раза, т.е увеличить площадь подошвы фундамента тоже в 1,5 раза.
Расчетное сопротивление грунта на разной глубине
Величины расчетного сопротивления грунтов (Ro), приведенные в таблицах 4…8, даны для глубины заложения фундамента 1,5…2 м.
Если глубина заложения фундамента меньше чем 1.5 м, то расчетное сопротивление грунта (Rh) определяется по формуле:
Rh = 0,005 · Ro · (100 + h/3), где
h – глубина заложения фундамента в см.
Пример 1.
Глинистый грунт на глубине 0,5 м при Ro = 4 кг/см² будет иметь расчетное сопротивление грунта Rh = 2,33 кг/см².
Если глубина заложения фундамента больше чем 2 м. то расчетное сопротивление грунта (Rh) определяется по формуле:
Rh = Ro + k · g · (h – 200), где
h – глубина заложения фундамента в см,
g – вес столба грунта, расположенного выше глубины заложения фундамента (кг/см²);
k – коэффициент грунта (для песка – 0,25; для супеси и суглинка – 0,20; для глины – 0,15).
Пример 2.
Глинистый грунт на глубине 3 м при Ro = 4 кг/см² будет иметь расчетное сопротивление Rh = 10,3 кг/см². Удельный вес глины – 1,4 кг/см², а вес столба глины высотой 300 см – 0,42 кг/см².
Максимальные величины расчетного сопротивления грунтов
Для того чтобы глубже понять работу оснований, полезно было бы узнать максимальные величины расчетного сопротивления грунтов, которые встречаются в реальной жизни. Такие экстремальные параметры грунта могут возникнуть только при максимальном его уплотнении, например, под нижним концом забивных свай.
Значения расчетного сопротивления сильно уплотненных грунтов Ro (пески гравелистые, крупные, средние, мелкие и пылеватые, пылевато-глинистые грунты) зависят от глубины погружения нижнего конца свай [3]:
– на глубине 3 м увеличение – в 10 раз;
– на глубине 20 м увеличение – в 15 раз;
– на глубине 35 м увеличение – в 20 раз.
Такое внушительное увеличение несущей способности грунта связано с уплотнение грунта не только непосредственно под сваей, но и вокруг неё (Рисунок 16, д).
Эти данные приведены не для того, чтобы их напрямую использовать при расчете фундамента, т.к. такое значительное увеличение расчетного сопротивления грунтов связано с их сильным уплотнением и значительными деформациями основания. Но вместе с тем, это дает застройщику определенную уверенность в том, что созданный им фундамент выдержит вес задуманного сооружения: грунт не подведет. Главное в этом – сделать грамотно все остальное: фундамент и стены.
На заметку застройщику
Фундамент, возводимый по технологии ТИСЭ, дает возможность просесть дому на 8…10 см. В реальной жизни просадка фундамента – не более 1 см. Если это учитывать, то величину расчетного сопротивления грунта можно несколько увеличить (предположительно в 1,5 раза) или использовать этот довод для создания определенного запаса по несущей способности основания.
Расчет фундамента по допустимым деформациям сооружения
Целью расчета фундамента по этой методике является оценка соответствия действующего и допустимого уровней деформаций сооружения от воздействия эксплуатационных нагрузок.
В гибких и жестких конструкциях неравномерность осадки вызывает деформации строений или ведет к изменению их положения (Рисунок 17), что может вызвать ухудшение условий эксплуатации здания или его оборудования. Кроме этого, при больших деформациях конструкция сооружения может испытывать закритические напряжения, ведущие к его разрушению.
Правильно спроектированный фундамент предполагает осадки и деформации строения, но величина их не должна превышать строительные нормы, гарантирующие полноценную эксплуатацию здания.





Рисунок 17. Формы деформации сооружений
А – прогиб; Б – выгиб; В – сдвиг; Г – крен; Д – перекос; Е – горизонтальное смещение
Виды деформаций сооружений.
Прогиб и выгиб (Рисунок 17, а, б) зданий возникает из-за неравномерной осадки основания. Наиболее опасная растянутая зона строений при прогибе находится у фундамента, при выгибе – у кровли.
Сдвиг (Рисунок 17, в) зданий возникает при увеличенной просадке основания с одной из сторон. Наиболее опасная зона строения – стена в средней зоне, где возникает большой сдвиг.
Крен (Рисунок 17, г) здания возникает при относительно большой его высоте (многоэтажный дом, башня, дымовая труба…), при высокой изгибной жесткости строения. Опасен дальнейший рост крена и последующее разрушение здания.
Перекос (Рисунок 17, д) возникает при неравномерных осадках, приходящихся на небольшой участок длинного сооружения.
Горизонтальное смещение (Рисунок 17, е) возникает в фундаментах, в стенах подвалов или в подпорных стенках, загруженных горизонтальными усилиями.
Допускаемая величина осадки и крена сооружений
Допускаемая величина осадки, неравномерности в осадке и крена зависят от типа здания, его силовой схемы и используемых материалов.
Величина допустимых деформаций приведена в таблице 9.
| Наименование сооружения | Относительная неравномерность осадок (σ/L) | Крен | Средняя осадка (см) | Макс. осадка (см) |
|---|---|---|---|---|
| 1. Производственные и гражданские одноэтажные и многоэтажные с полным каркасом: | ||||
| – железобетонным | 0,002 | – | – | 8 |
| – стальным | 0,004 | – | – | 12 |
| 2. Здания и сооружения, в конструкции которых не возникают усилия от неравномерных осадок (деревянные, щитовые…) | 0,006 | – | 15 | |
| 3. Многоэтажные бескаркасные здания с несущими стенами из: | ||||
| – крупных панелей | 0,0016 | 0,005 | 10 | |
| – крупных блоков или кирпичей без армирования | 0,002 | 0,005 | 10 | |
| – то же, но с армированием или с арматурными поясами | 0,0024 | 0,005 | 15 | |
| 4. Жесткие сооружения высотой до 100 м | 0,004 | 20 | ||
Относительная неравномерность осадки (σ/L) – максимальное отношение разности в осадке двух участков фундамёнта к расстоянию между этими участками. По- другому: относительный прогиб (выгиб) характеризуется отношением стрелы прогиба к длине изгибаемого участка.
Из таблицы видно, что допустимые неравномерности в осадке дома тем больше, чем менее жесткий дом. Каркасные или деревянные дома допускают относительно большую неравномерность в осадке фундамента. Каменные, более жесткие дома – нет.
Пример
Кирпичный двухэтажный дом просел в середине на 1 см (Рисунок 17, а). Расстояние по длине фундамента между точками замера – 600 см (длина дома – 12 м). Относительная неравномерность осадки – 1/600=0,0017. Допустимая неравномерность осадки для такого дома – 0,002. Поэтому осадка в 1 см для такого дома допускается.
Причины неравномерных осадок:
– неоднородность основания, сложенного из пластов различной толщины или плотности;
– переувлажнение какой-либо части основания или сложение части основания из насыпного грунта;
– неравномерное давление на основание, вызванное несоответствием площади подошвы с действующей вертикальной нагрузкой (давление на фундамент в средней части здания больше, чем под внешними стенами, т.к. на внутреннюю стену опираются перекрытия с двух сторон);
– неодновременное возведение отдельных частей здания;
– механическая суффозия – перемещение водяными потоками частиц грунта – ведет к увеличению пористости и к уменьшению прочности грунта;
– наличие в толще грунта материалов, подверженных гниению (корни деревьев, отходы древесины…);
– воздействие механизмов – удаление лишнего грунта при рытье котлованов и траншей под фундамент – наиболее распространенная ошибка строителей, т.к. уложенная выравнивающая подсыпка под фундаментом не обладает прочностью нетронутого грунта;
– уплотнение грунта в процессе эксплуатации сооружения, связанное со значительным увеличением веса (складские помещения, элеваторы…);
– изменение уровня подземных вод (грунтовых или производственных);
– подземные выработки (рытье туннелей метро, канализационных коллекторов и др.);
– разрушение подземных магистралей систем водоснабжения, отопления, канализации и отвода дождевой воды часто приводит к вымыванию большого объема грунта из-под строений.
Из городской жизни
Прорывы трубы систем водоснабжения, центрального отопления или канализации, разрушенная отмостка вокруг зданий, под которую затекают ливневые осадки, могут привести строения в аварийное состояние и даже к разрушению. Происходит это не только из-за снижения несущей способности влажного грунта. Иногда возникает ситуация, когда под землей стихийно возникают большие и малые водяные потоки, уносящие грунт в магистральные ливнеотводящие коллекторы или в водоносные слои грунта. Подобные потоки при благоприятных условиях могут образовывать ручейки, способные создать в толще грунта полости достаточно внушительных размеров , способные поглотить не один грузовик или разрушить целое здание (Рисунок 18).
Рисунок 18. Образование полостей в толще грунта из-за разрушения трубопровода системы центрального отопления и из-за разрушенной отмостки
Из практики ТИСЭ
Фундамент и стены трехэтажного дома 9 х 12 м возводили по технологии ТИСЭ. В процессе возведения стен первого этажа в одном месте стены возникла трещина. Внизу у ростверка её ширина была около 1 мм. Полностью она исчезала на высоте около 1 м от ростверка. Сам ростверк, имеющий высоту около 20 см, не треснул (Рисунок 19). Стали разбираться, в чём причина.
Основная ошибка строителей заключалась в том, что песчаная подсыпка, играющая роль нижней части опалубки, из-под ленты своевременно не была удалена. Но сути стены возводили на ленточном незаглубленном фундаменте, которым являлся ростверк.
Перед тем, как возникла трещина, в этом месте стены был брошен шланг, из которого постоянно текла вода, используемая при возведении стен. От переизбытка влаги несущая способность верхних слоев грунта в этом месте снизилась. Тонкая лента проармированного ростверка просела, не треснув. Бетонный массив в нижней части стены, испытывающий растяжение, лопнул, отчего и появилась эта трещина.
Правильная последовательность удаления песчаной подсыпки из-под ростверка всего дома и горизонтальное армирование стен позволили решить эту проблему. После нанесения шпаклевки эта трещина больше не проявлялась.
Рисунок 19. Появление трещины при местном переувлажнении грунта:
1 – опора; 2 – песчаная подсыпка; 3 – ростверк; 4 – стена; 5 – трещина; 6 – переувлажнённый грунт
Причиной возникновения подобных трещин в стене часто становится разрушенная система ливнеотвода. Толстый слой снега на крыше и массивные сосульки становятся причиной поломки желобов и стояков системы. Если у хозяина руки не доходят до их восстановления, то после сильных дождей земля вокруг дома неравномерно увлажняется, как в предыдущем примере, что вызывает неравномерную осадку незаглубленного или мелкозаглубленного фундамента. В стенах возникают трещины, здание приходит в аварийное состояние, выйти из которого достаточно сложно.
Это было в Санкт-Петербурге
В Шипкинском пер. 17-этажный дом на плитном фундаменте накренился на 0,5%. Причина – ненормативное расположение траншеи ливневой канализации относительно фундаментной плиты (на расстоянии менее 2 м и ниже подошвы плиты на 1 м) и некачественное её выполнение. Это привело к замачиванию грунтов основания и к их утечке в ливнеотводящую систему. Осадка одной стороны здания приблизилась к предельно допустимой величине 24 см.
Восстановление вертикальности здания свелось к сознательному ухудшению несущей способности грунта под той частью плиты, которая не просела. Процесс возвращения дома в вертикальное положение занял почти три месяца. Когда дом начал приближаться к вертикальному положению, началось закрепление грунтов основания под всей плитой инъекцией твердеющих растворов под высоким давлением. После восстановительных работ дом оказался ниже исходной проектной отметки на 30 см.
Мероприятия по устранению неравномерных осадок
Устранение неравномерности осадки фундамента сводится к определенным конструктивным проработкам и к проведению некоторых профилактических мероприятий:
– выбор площади подошвы фундамента, отвечающей величине предполагаемых нагружений;
– рациональная компоновка зданий и сооружений, обеспечивающая более равномерную передачу нагрузки от веса здания на основание;
– уменьшение чувствительности здания через увеличение его изгибной жесткости, если оно короткое, и через уменьшение изгибной жесткости здания, если оно длинное;
– горизонтальное армирование стен и устройство сейсмопоясов;
– устройство деформационных или осадочных швов между секциями сооружения;
– устройство компенсирующего фундамента (столбчато-ленточный фундамент по технологии ТИСЭ);
– придание сооружению или отдельным его частям строительного подъема, соответствующего величине прогнозируемой осадки;
– проработка систем отвода ливневых осадков, систем водоснабжения и канализации с профилактическими мероприятиями по их обслуживанию, не допускающими неравномерного увлажнения грунта и возникновения подземных потоков.
Как можно уменьшить изгибную жесткость дома
У застройщика с большой семьей, но с ограниченными финансовыми возможностями было желание построить двухэтажный дом 11 х 8 м с мансардой. Грунт был слабый и внушал определенные опасения: могли появиться трещины в стенах каменного дома. Было предложено разбить возведение дома на несколько этапов и ввести компенсационную вставку. Для этого дом разделили на три секции: две внешние – каменные, фундамент и стены которых возводились по ТИСЭ; и среднюю деревянную секцию, которая объединяла их в целый дом. У застройщика появилась возможность растянуть строительство, возвести и обживать сначала одну секцию (жилую и гараж…), а затем – и все остальные (Рисунок 20). Одновременно с этим деревянная секция дома могла скомпенсировать неравномерности в просадке грунта без каких-либо разрушений.


Рисунок 20. Этапы возведения здания с уменьшенной изгибной жесткостью:
А – возведение первой каменной секции; Б – возведение второй каменной секции; В – соединение каменных секций балками и стропилами; Г – дом построен
Дальше на ⇒
Подготовка оснований под фундамент
⇐ Назад на
Грунтовые воды