• · Грунтовые воды
• · Расчёт фундамента
• · Подготовка оснований под фундамент
• · Динамика пучинистых грунтов
• · Типовые схемы фундаментов

Динамика пучинистых грунтов

Пучинистые явления – коварные и бесцеремонные процессы, возникающие во влажных глинистых, мелкопесчаных и пылеватых грунтах при их сезонном промерзании. Не учитывать их нельзя, что понятно любому, даже слабо разбирающемуся в строительстве застройщику. Многие это поняли, обнаружив по весне трещину в кирпичной стене загородного дома, увидев перекошенные дверные и оконные проемы каркасной дачной постройки, заметив опасно накренившийся забор.

Пучинистые явления – это не только большие деформации грунта, но и огромные усилия – в десятки тонн, способные привести к большим разрушениям.

Сложность в оценке воздействия пучинистых явлений грунта на постройки – в некоторой их непредсказуемости, обусловленной одновременным воздействием нескольких процессов. Чтобы лучше разобраться в этом, опишем некоторые понятия, связанные с этим явлением.

Морозное пучение, так называют это явление специалисты, связано с тем, что в процессе замерзания влажный грунт увеличивается в объеме.

Происходит это из-за того, что вода увеличивается в объеме при замерзании на 12% (отчего лед и плавает по воде). Поэтому, чем больше воды в грунте, тем он более пучинистый. Так, подмосковный лес, стоящий на сильно пучинистых грунтах, зимой поднимается на 5…10 см относительно летнего своего уровня. Внешне это незаметно. Но если в грунт забита свая более чем на 3 м, то подъем грунта зимой можно отследить по отметкам, сделанным на этой свае. Подъем грунта в лесу мог бы быть в 1,5 раза больше, если бы в нем не было снегового покрова, прикрывающего грунт от промерзания.

Степень пучинистости грунта

Грунты по степени пучинистости делятся на:

– сильнопучинистые – пучение 12%;

– среднепучинистые – пучение 8%;

– слабопучинистые – пучение 4%.

При глубине промерзания 1,5 м сильнопучинистого грунта составляет 18 см.

Пучинистость грунта определяется его составом, пористостью, а также уровнем грунтовых вод (УГВ). Так и глинистые грунты, мелкие и пылеватые пески относятся к пучинистьш грунтам, а крупнозернистые песчаные и гравийные грунты – к непучинистым.

Рассмотрим, с чем это связано.

Во-первых.

В глинах или мелких песках влага, как по промокашке, достаточно высоко поднимается от УГВ за счет капиллярного эффекта и хорошо удерживается в таком грунте. Здесь проявляются силы смачивания между водой и поверхностью пылевых частиц. В крупнозернистых же песках влага не поднимается, и грунт становится влажным только по уровню грунтовых вод. То есть чем тоньше структура грунта, тем выше поднимается влага, тем логичнее отнести его к более пучинистым грунтам.

Поднятие воды может достигать:
– 4…5 м в суглинках;
– 1…1,5 м в супесях;
– 0,5 …1 м в пылеватых песках.

В связи с этим степень пучинистости грунта зависит как от своего зернового состава, так и от уровня грунтовых или паводковых вод.

Слабопучинистый грунт – когда УГВ расположен ниже расчетной глубины промерзания:
– на 0,5 м – в пылеватых песках;
– на 1 м – в супесях;
– на 1,5 м – в суглинках;
– на 2 м – в глинах.

Среднепучинистый грунт – когда УГВ расположен ниже расчетной глубины промерзания:
– на 0,5 м – в супесях;
– на 1 м – в суглинках;
– на 1,5 м – в глинах.

Сильнопучинистый грунт – когда УГВ расположен ниже расчетной глубины промерзания:
– на 0,3 м – в супесях;
– на 0,7 м – в суглинках;
– на 1,0 м – в глинах.

Чрезмернопучинистый грунт – если УГВ будет выше, чем для сильнопучинистых грунтов.

Обращаем внимание на то, что смеси крупного песка или гравия с пылеватым песком или глиной будут относиться к пучинистым грунтам в полной мере. При наличии в крупнообломочном грунте более 30% пылевато-глинистой составляющей, грунт также будет относиться к пучинистому.

Во-вторых.

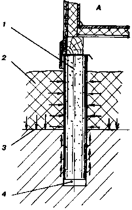
Процесс промерзания грунта происходит сверху вниз, при этом граница между влажным и мерзлым грунтом опускается с некоторой скоростью, определяемой, в основном, погодными условиями. Влага, превращаясь в лед, увеличивается в объеме, вытесняя сама себя в нижние слои грунта, сквозь его структуру. Пучинистость грунта определяется также тем, успеет ли выдавливаемая сверху влага просочиться через структуру грунта или нет, хватит ли степени фильтрации грунта, чтобы этот процесс прошел с пучением или без него. Если крупнозернистый песок не создает влаге никакого сопротивления, и она беспрепятственно уходит, то такой грунт не расширяется при замерзании (Рисунок 23).

Грунт на границе промерзания
Рисунок 23. Грунт на границе промерзания:
1 – песок; 2 – лед; 3 – граница промерзания; 4 – вода

Что касается глины, то сквозь неё влага уйти не успевает, и такой грунт становится пучинистым. Кстати, грунт из крупнозернистого песка, помещенный в замкнутый объем, которым может оказаться скважина в глине, поведет себя как пучинистый (Рисунок 24).

Песок в замкнутом объеме – пучинистый
Рисунок 24. Песок в замкнутом объеме – пучинистый:
1 – глина; 2 – уровень грунтовых вод; 3 – граница промерзания; 4 – песок + вода; 5 – лед + песок; 6 – песок

Именно поэтому траншею под мелкозаглубленными фундаментами заполняют крупнозернистым песком, позволяющим выровнять степень влажности по всему его периметру, сгладить неравномерность пучинистых явлений. Траншею с песком, если возможно, следует соединить с дренажной системой, отводящей верховодку из-под фундамента.

В-третьих.

Наличие давления от веса строения также сказывается на проявлении пучинистых явлений. Если слой грунта под подошвой фундамента сильно уплотнить, то и степень пучинистости его уменьшится. Причем, чем больше будет само давление на единицу площади основания, тем больше будет объем уплотненного грунта под подошвой фундамента и меньше величина пучения.

Пример

Б Подмосковье (глубина промерзания 1,4 м) на среднепучинистом грунте на мелкозаглубленном ленточном фундаменте с глубиной заложения 0,7 м возведен относительно легкий брусовой дом. При полном промерзании грунта внешние стены дома могут подняться почти на 6 см (Рисунок 25, а). Если же фундамент под тем же домом с той же глубиной заложения выполнен столбчатым, то давление на грунт будет больше, его уплотнение будет сильнее, отчего подъем стен от промерзания грунта не превысит 2…3 см (Рисунок 25, б).

Степень пучинистости грунта Степень пучинистости под фундаментом
Рисунок 25. Степень пучинистости грунта зависит от давления на основание:
А – под ленточным фундаментом; Б – под столбчатым фундаментом;
1 – песчаная подушка; 2 – граница промерзания; 3 – уплотнённный грунт; 4 – ленточный фундамент; 5 – столбчатый фундамент

Сильное уплотнение пучинистого грунта под ленточным мелкозаглубленным фундаментом может возникнуть, если на нем будет возведен каменный дом высотой не меньше чем в три этажа. В этом случае можно говорить о том, что пучинистые явления будут просто задавлены весом дома. Но и в этом случае они всё же останутся и могут вызвать появление трещин в стенах. Поэтому каменные стены дома на подобном фундаменте следует возводить с обязательным горизонтальным армированием.

Чем же опасны пучинистые грунты? Какие процессы, пугающие застройщиков своей непредсказуемостью, проходят в них?

Какова природа этих явлений, как с ними бороться, как их избежать, можно понять, изучив саму природу проходящих процессов.

Главная причина коварства пучинистых грунтов – неравномерное пучение под одним строением

Глубина промерзания грунта – это не расчетная глубина промерзания и не глубина заложения фундамента, это – реальная Глубина промерзания в конкретном месте, в конкретное время и при конкретных погодных условиях.

Как уже отмечалось, глубина промерзания определяется балансом мощности тепла, идущего из недр земли, с мощностью холода, проникающего в грунт сверху в холодное время года.

Если интенсивность тепла земли не зависит от времени года и суток, то на поступление холода влияют температура воздуха и влажность грунта, толщина снегового покрова, его плотность, влажность, загрязненность и степень прогрева солнцем, застройка участка, архитектура сооружения и характер его сезонного использования (Рисунок 26).

Промерзание участка застройки
Рисунок 26. Промерзание участка застройки:
1 – плита фундамента; 2 – расчетная глубина промерзания; 3 – граница промерзания дневная; 4 – граница промерзания ночная

Неравномерность толщины снегового покрова наиболее ощутимо сказывается на разности в пучении грунта. Очевидно, что глубина промерзания будет тем выше, чем тоньше будет слой снежного одеяла, чем ниже будет температура воздуха и чем дольше продлится её воздействие.

Если ввести такое понятие, как морозопродолжительность (время в часах, умноженное на среднесуточную минусовую температуру воздуха), то глубину промерзания глинистого грунта средней влажности можно показать на графике (Рисунок 27).

Зависимость промерзания от толщины снега
Рисунок 27. Зависимость глубины промерзания от толщины снегового покрова

Морозопродолжительность для каждого региона является среднестатистическим параметром, оценивать который индивидуальному застройщику очень сложно, т.к. это потребует ежечасного контроля за температурой воздуха в течение всего холодного сезона. Тем не менее, в крайне приближенном расчете это сделать можно.

Пример

Если среднесуточная зимняя температура – около -15 °С, а её продолжительность – 100 суток (морозопродолжительность = 100 · 24 · 15 = 36000), то при снеговом покрове толщиной в 15 см глубина промерзания будет 1 м, а при толщине 50 см – 0,35 м.

Если толстый слой снегового покрова, как одеяло, укрывает землю, то граница промерзания поднимается вверх; при этом и днем, и ночью её уровень сильно не меняется. При отсутствии снегового покрова ночью граница промерзания сильно опускается вниз, а днем, при солнечном прогреве, поднимается вверх. Разница ночного и дневного уровня границы промерзания грунта особенно ощутима там, где снеговой покров мал или вовсе отсутствует и где грунт сильно увлажнен. Наличие дома также влияет на глубину промерзания, ведь дом является своего рода теплоизоляцией, даже если в нем и не живут (продухи подпола закрыты на зиму).

Участок, на котором стоит дом, может иметь весьма сложную картину промерзания и подъема грунта.

Например, среднепучинистый грунт по внешнему периметру дома при промерзании на глубину 1,4 м может подняться почти на 10 см, тогда как более сухой и теплый грунт под средней частью дома останется практически на летней отметке.

Неравномерность промерзания существует еще и по периметру дома. Ближе к весне грунт с южной стороны строения часто бывает более влажным, слой снега над ним – более тонким, чем с северной стороны. Поэтому в отличие от северной стороны дома, грунт с южной стороны лучше прогревается днем и сильнее промерзает ночью.

Из опыта

Весной у в середине марта, я решил проверить как под построенным домом "гуляет" грунт. По углам фундамента (с внутренней стороны) были забетонированы в тротуарные плитки прутки, по которым я проверял просадку фундамента от веса дома. С северной стороны грунт поднялся на 2 и 1,5 см, а с южной – на 7 и 10 см. Уровень воды в колодце на тот момент был ниже грунта на 4 м.

Таким образом, неравномерность промерзания на участке проявляется не только в пространстве, но и во времени. Глубина промерзания подвержена сезонным и суточным изменениям в весьма больших пределах и может сильно меняться даже на небольших участках, особенно в местах застройки.

Расчищая большие площадки от снега в одном месте участка, и создавая сугробы в другом месте, можно создать заметную неравномерность промерзания грунта. Известно, что посадки кустарников вокруг дома задерживают снег, уменьшая в 2 – 3 раза глубину промерзания, что хорошо видно на графике (Рисунок 27).

Расчистка узких дорожек от снега на степень промерзания грунта особого влияния не оказывает. Если же Вы решили у дома залить каток или очистить площадку для своего авто, то можете ожидать большую неравномерность в промерзании грунта под фундаментом дома в этой зоне.

Силы бокового сцепления мерзлого грунта с боковыми стенками фундамента – другая сторона проявления пучинистых явлений. Эти силы весьма высоки и могут достигать 5…7 т на квадратный метр боковой поверхности фундамента. Подобные силы возникают, если поверхность столба неровная и не имеет гидроизолирующего покрытия. При таком крепком сцеплении мерзлого грунта с бетоном на столб диаметром 25 см, заложенный на глубину 1,5 м, будет действовать вертикальная выталкивающая сила до 8 т.

Как же возникают и действуют эти силы, как проявляются они в реальной жизни фундамента?

Возьмем для примера опору столбчатого фундамента под легким домом. На пучинистом грунте глубина заложения опор выполняется на расчетную глубину промерзания (Рисунок 28, а). При небольшом весе самого строения силы морозного пучения могут его поднять, и самым непредсказуемым образом.

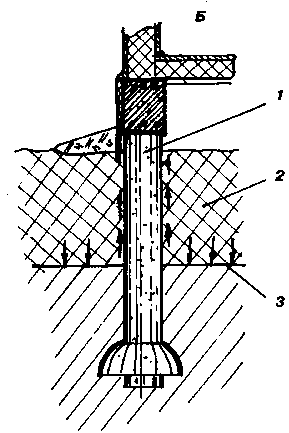
Подъем столбчатого фундамента боковыми силами Подъем фундамента ТИСЭ боковыми силами
Рисунок 28. Подъем фундамента боковыми силами сцепления:
А – столбчатый фундамент; Б – столбчато-ленточный фундамент по технологии ТИСЭ;
1 – опора фундамента; 2 – мерзлый грунт; 3 – граница промерзания; 4 – воздушная полость

Ранней зимой граница промерзания начинает опускаться вниз. Мерзлый прочный грунт схватывает верхнюю часть столба мощными силами сцепления. Но кроме увеличения сил сцепления мерзлый грунт еще и увеличивается в объеме, отчего верхние слои грунта поднимаются, пытаясь выдернуть опоры из земли. Но вес дома и силы заделки столба в грунте не позволяют этого сделать, пока слой мерзлого грунта тонкий и площадь сцепления столба с ним невелика. По мере продвижения границы промерзания вниз, площадь сцепления мерзлого грунта со столбом увеличивается. Наступает такой момент, когда силы сцепления мерзлого грунта с боковыми стенками фундамента превышают вес дома. Мерзлый грунт вытаскивает столб, оставляя внизу полость, которая сразу же начинает заполняться водой и частицами глины. За сезон на сильно пучинистых грунтах такой столб может подняться на 5 – 10 см. Подъем опор фундамента под одним домом, как правило, происходит неравномерно. После оттаивания мерзлого грунта фундаментный столб самостоятельно на прежнее место, как правило, не возвращается. С каждым сезоном неравномерность выхода опор из грунта увеличивается, дом наклоняется, приходя в аварийное состояние."Лечение" такого фундамента – сложная и дорогая работа.

Эту силу можно уменьшить в 4…6 раз, сгладив поверхность скважины толевой рубашкой, вложенной в скважину до заполнения её бетонной смесью.

Заглубленный ленточный фундамент может подняться таким же образом, если он не имеет гладкую боковую поверхность и не загружен сверху тяжелым домом или бетонными перекрытиями (Рисунок 4).

Основное правило для заглубленных ленточных и столбчатых фундаментов (без расширения внизу): возведение фундамента и загрузку его весом дома cледует выполнить в один сезон.

Фундаментный столб, выполненный по технологии ТИСЭ (Рисунок 28, б), не поднимается силами сцепления пучинистого мерзлого грунта благодаря нижнему расширению столба. Однако если не предполагается в этот же сезон загрузит его домом, то такой столб должен иметь надежное армирование (4 прутка диаметром 10…12 мм), исключающее отрыв расширенной части столба от цилиндрической. Несомненные преимущества опоры ТИСЭ – высокая несущая способность и то, что его можно оставить на зиму без загрузки сверху. Никакие силы морозного пучения его не поднимут.

Боковые силы сцепления могут сыграть невеселую шутку с застройщиками, делающими столбчатый фундамент с большим запасом по несущей способности. Лишние фундаментные столбы действительно могут оказаться лишними.

Из практики

Деревянный дом с большой застекленной верандой установили на фундаментные столбы. Глина и высокий уровень грунтовых вод требовали заложения фундамента ниже глубины промерзания. Пол широкой веранды потребовал промежуточной опоры. Почти всё было выполнено правильно. Однако за зиму пол подняло почти на 10 см (Рисунок 29).

Разрушение перекрытия веранды
Рисунок 29. Разрушение перекрытия веранды силами сцепления мерзлого грунта с опорой

Причина такого разрушения понятна. Если стены дома и веранды смогли своим весом компенсировать силы сцепления фундаментных столбов с мерзлым грунтом, то легким балкам перекрытия это было не под силу

Что же надо было сделать?

Существенно уменьшить либо количество центральных фундаментных столбов, либо их диаметр. Силы сцепления можно было бы уменьшить, обернув фундаментные столбы несколькими слоями гидроизоляции (толь, рубероид) или создав прослойку из крупнозернистого песка вокруг столба. Избежать разрушения можно было бы и через создание массивной ленты-ростверка, соединяющей эти опоры. Другой способ уменьшить подъем таких опор – заменить их на мелкозаглубленный столбчатый фундамент.

Выдавливание – наиболее ощутимая причина деформации и разрушения фундамента, заложенного выше глубины промерзания.

Чем его можно объяснить?

Выдавливание обязано суточному прохождению границы промерзания мимо нижней опорной плоскости фундамента, которое совершается значительно чаще, чем подъем опор от боковых сил сцепления, имеющих сезонный характер.

Чтобы лучше понять природу этих сил, мерзлый грунт представим в виде плиты. Дом или любое другое строение зимой оказывается надежно вмороженным в эту камнеподобную плиту.

Основные проявления этого процесса видны весной. У стороны дома, обращенной на юг, днем достаточно тепло (в безветрие можно даже загорать). Снеговой покров стаял, а грунт увлажнился весенней капелью. Темный грунт хорошо поглощает солнечные лучи и прогревается.

В звездную ночь ранней весной особенно холодно (Рисунок 30). Грунт под свесом крыши сильно промерзает. У плиты мерзлого грунта снизу вырастает выступ, который мощью самой плиты сильно уплотняет грунт под собой за счет того, что влажный грунт при замерзании расширяется. Силы подобного уплотнения грунта огромны.

Плита мерзлого грунта ночью
Рисунок 30. Плита мерзлого грунта ночью:
1 – плита мерзлого грунта; 2 – граница промерзания; 3 – направление уплотнения грунта

Плита мерзлого грунта толщиной 1,5 м размерами 10x10 м будет весить более 200 т. Примерно с таким усилием и будет уплотняться грунт под выступом. После подобного воздействия глина под выступом "плиты" становится очень плотной и практически водонепроницаемой.

Наступил день. Темный грунт у дома особенно сильно прогревается солнцем (Рисунок 31). С повышением влажности увеличивается и его теплопроводность. Граница промерзания поднимается (под выступом это происходит особенно быстро). С оттаиванием грунта уменьшается и его объем, грунт под опорой разрыхляется и по мере оттаивания падает под собственным весом пластами. Образуется множество щелей в грунте, которые заполняются сверху водой и взвесью глинистых частиц. Дом при этом удерживается силами сцепления фундамента с плитой мерзлого грунта и опорой по остальному периметру.

Плита мерзлого грунта днем
Рисунок 31. Плита мерзлого грунта днем:
1 – плита мерзлого грунта; 2 – граница промерзания (ночь); 3 – граница промерзания (день); 4 – полость оттаивания

С наступлением ночи полости, заполненные водой, замерзают, увеличиваясь в объеме и превращаясь в так называемые "ледяные линзы". При амплитуде поднятия и опускания границы промерзания за одни сутки в 30 – 40 см толщина полости увеличится на 3 – 4 см. Вместе с увеличением объема линзы будет подниматься и наша опора. За несколько таких дней и ночей опора, если она не сильно загружена, поднимается порой на 10 – 15 см, как домкратом, опираясь на весьма сильно уплотненный грунт под плитой.

Возвращаясь к нашей плите, заметим, что ленточный фундамент нарушает целостность самой плиты. По боковой поверхности фундамента она разрезана, т. к. битумная обмазка, которой она покрывается, не создает хорошего сцепления фундамента с мерзлым грунтом. Плита мерзлого грунта, создавая своим выступом давление на грунт, сама начинает подниматься, а зона разлома плиты – раскрываться, заполняться влагой и частицами глины. Если лента заглублена ниже глубины промерзания, то плита поднимается, не беспокоя сам дом. Если же глубина заложения фундамента выше глубины промерзания, то давление мерзлого грунта поднимает фундамент, и тогда его разрушение неизбежно (Рисунок 32).

разлом по ленте фундамента
Рисунок 32. Плита мерзлого грунта с разломом по ленте фундамента:
1 – плита; 2 – разлом

Интересно представить плиту мерзлого грунта, перевернутую вверх дном. Это относительно ровная поверхность, на которой ночью в некоторых местах (где нет снега) вырастают холмы, которые днем превращаются в озера. Если же теперь вернуть плиту в исходное положение, то как раз там, где были холмы, и создаются в грунте ледяные линзы. В этих местах грунт ниже глубины промерзания сильно уплотнен, а выше, наоборот, разрыхлен. Это явление происходит не только на площадях застройки, но и в любом другом месте, где присутствует неравномерность в прогреве грунта и в толщине снегового покрова. Именно по такой схеме в глинистых грунтах возникают ледяные линзы, хорошо известные специалистам. Природа возникновения глинистых линз в песчаных грунтах такая же, но протекают эти процессы существенно дольше.

Подъем мелкозаглубленного фундаментного столба

Подъем фундаментного столба мерзлым грунтом осуществляется при ежесуточном прохождении границы промерзания мимо его подошвы. Вот как этот процесс происходит.

До того момента, пока граница промерзания грунта не опустилась ниже опорной поверхности столба, сама опора неподвижна (Рисунок 33, а). Как только граница промерзания опускается ниже подошвы фундамента, "домкрат" пучинистых процессов сразу включается в работу. Пласт мерзлого грунта, находящегося под опорой, увеличившись в объеме, поднимает её (Рисунок 33, б). Силы морозного пучения в водонасыщенных грунтах весьма высоки и достигают 10…15 т/м². С очередным прогревом пласт мерзлого грунта под опорой оттаивает и уменьшается в объеме на 10%. Сама опора удерживается в поднятом положении силами своего сцепления с плитой мерзлого грунта. В образовавшийся зазор под подошвой опоры просачивается вода с частицами грунта (Рисунок 33, в). Со следующим понижением границы промерзания вода в полости замерзает, а пласт мерзлого грунта под опорой, увеличиваясь в объеме, продолжает подъем фундаментного столба (Рисунок 33, г).

Следует обратить внимание на то, что этот процесс подъема опор фундамента имеет ежесуточный (многократный) характер, а выдавливание опор силами сцепления с мерзлым грунтом – сезонный (один раз за сезон).

При большой вертикальной нагрузке, приходящейся на столб, грунт под опорой, сильно уплотненный давлением сверху, становится слабопучинистым, да и вода из-под самой опоры в процессе оттаивания мерзлого грунта выжимается сквозь тонкую его структуру. Поднятия опоры в этом случае практически не происходит.

разлом по ленте фундамента
Рисунок 33. Подъем фундаментного столба пучинистым грунтом;
А, В – верхний уровень границы промерзания; Б, Г – нижний уровень границы промерзания;
1 – лента-ростверк; 2 – фундаментный столб; 3 – мерзлый грунт; 4 – верхнее положение границы промерзания; 5 – нижнее положение границы промерзания; 6 – смесь воды и глины; 7 – смесь льда и глины

Яковлев P. Н. Универсальный фундамент → Содержание

Дальше на ⇒
Типовые схемы фундаментов

⇐ Назад на
Подготовка оснований под фундамент