Соединение опор лентой-ростверком – завершающий этап создания столбчато-ленточного фундамента. Эти работы могут начинаться сразу после создания опор. Выбор поперечного сечения ростверка, его армирование и уклон участка – основные проблемы, возникающие у застройщиков.
Как уже отмечалось, под лентой-ростверком обязательно должен быть воздушный зазор не менее 15 см.
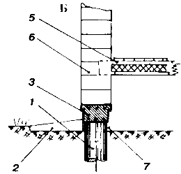
Рисунок 152. Разрушение опоры
пучинистым грунтом при
мелко-заглубленной ленте
фундамента: 1 – лента;
2 – песок; 3 – опора;
4 – мерзлый грунт
Внимание! Распространенная ошибка
Общение с застройщиками показывает, что иногда возникает желание совместить столбчатый фундамент, возведенный с применением фундаментного бура ТИСЭ-Ф, с мелкозаглубленным.
Логика таких рассуждений следующая: "Мне бур ТИСЭ-Ф понравился. Буду делать фундамент с ним, но на всякий случай ленту я все же заглублю: хуже не будет. На фундаменте я экономить не собираюсь. Сделаю крепче, ведь строю для себя…"
Ошибочность такого подхода очевидна.
При промораживании пучинистого грунта лента фундамента поднимется, а расширение опоры будет препятствовать этому. Происходит либо разрыв опоры (Рисунок 152), либо подмятие свода над расширением. Застройщик, послушавший свой внутренний голос, ошибется, создав вместо заглубленного фундамента мелкозаглубленный.
Никакие песчаные подсыпки под лентой фундамента особой пользы не принесут, ведь песок несжимаем и в данном случае будет выполнять функцию жесткой прокладки. Так что сидеть на двух стульях не очень удобно.
Поперечное сечение ростверка определяется видом строения, толщиной возводимых стен, уклоном строительной площадки и выбранной схемой цоколя. Для того чтобы застройщик мог сам свободно в этом разбираться, следует понять назначение ростверка.
Если дом деревянный, бревенчатый или щитовой, то высота ростверка – не менее 40…60 см. Это обеспечит фундаменту достаточно высокую изгибную жесткость и отделил деревянный венец дома от зоны с повышенной влажностью. Ширина ростверка определяется конструкцией стен и нижнего перекрытия. В традиционной практике возведения деревянных домов стены и перекрытие первого этажа опирают на столбы. Если стены дома застройщик решил опирать на ростверк, то перекрытие первого этажа также может опираться на столбы (Рисунок 153). При опоре на ростверк можно увеличить его ширину под концы балок перекрытия (Рисунок 154, а). Создавая ростверк, не следует забывать о продухах – отверстиях, которые желательно располагать не ниже 30 см от поверхности отмостки.
Рисунок 153. Разделение опор под стены и перекрытие в деревянном доме:
1 – опора фундамента; 2 – отмостка; 3 – ростверк; 4 – бревенчатая стена; 5 – перекрытие; 6 – опора перекрытия
Если дом каменный, то высота сечения ростверка может быть не менее 15…20 см, а ширина должна соответствовать толщине стены (Рисунок 154, б). Основное назначение ростверка в этом случае – соединить опоры и дать возможность возводить саму стену, выдержать вес первых рядов каменной кладки. Больших изгибных нагрузок на него нет, так как в каменном доме основное восприятие изгибных нагрузок приходится на сами стены, обладающие значительной изгибной жесткостью. Вентиляционные отверстия – продухи – можно выполнять как в ленте, так и в самой стене, непосредственно под цокольным перекрытием.

Рисунок 154. Утройство ростверка: А – для деревянного дома; Б – для каменного дома;
1 – опора фундамента; 2 – отмостка; 3 – ростверк; 4 – бревенчатая стена; 5 – перекрытие; 6 – каменная стена; 7 – воздушный зазор
Ширина ленты-ростверка должна быть согласована и с самой стеной, с её утеплением и внешней отделкой; с тем, какой цоколь планируется выполнить (выступающий, западающий или ровный). .В конструкции ростверка должен быть предусмотрен отвод ливневых осадков, стекающих со стены.
Наличие уклона строительной площадки обязательно скажется на конструкции ростверка. Если уклон площадки небольшой, то лента ростверка будет переменной высоты. Нижняя поверхность будет идти вдоль уклона, а верхняя – горизонтально (Рисунок 155).
Рисунок 155. Ростверк на участке с уклоном имеет переменную высоту
Рисунок 156. Ростверк на участке с большим уклоном:
1 – опора; 2 – арматура ростверка; 3 – ростверк; 4 – арматура стены

Рисунок 158. Законцовка опоры
при узком ростверке
При большом уклоне ростверк может иметь ступенчатую форму (Рисунок 156). Арматуру опор следует выпустить в тело ростверка не менее чем на 20 см и саму опору ввести в него на 4…6 см (Рисунок 157). Высоту ступеней ростверка следует согласовать с толщиной кладочного слоя возводимой стены. Место ступеней не должно привязываться к расположению опор: оно свободно. При возведении стены в зоне ступеней ростверка следует проложить арматуру, исключающую появление трещин. Арматура может располагаться только в зоне ступеней или может проходить вдоль всей стены в одной общей плоскости
Если ростверк узкий, меньше чем 25 см, то верхнюю выступающую его часть обрезают с тем расчетом, чтобы её край не доходил до кромки ростверка ближе чем на 2…3 см (Рисунок 158). Срезку лучше выполнять по шнурам обноски и до того как бетон наберет прочность. Такая срезка на надежности опоры не скажется, даже если ширина законцовки будет 10 см, ведь узкая стена и вес имеет небольшой.
Дальше на ⇒
Устройство опалубки
⇐ Назад на
Бетонирование фундаментной опоры