Устройство опалубки ленты-ростверка выполняется в описанной далее последовательности и с учетом следующих рекомендаций.
– Нанесение гидроизоляции (битумная мастика) на верхнюю часть опор фундамента (Рисунок 159, а).
– Устройство песчаной подсыпки по периметру фундамента выполняется под уровень верхней плоскости опор, на ширину ростверка (Рисунок 159, б). Если участок имеет уклон, то песчаная подсыпка, сохраняя свою толщину, делается с тем же уклоном.






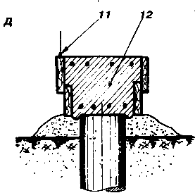
Рисунок 159. Последовательность создания ленты-ростверка (размеры в мм):
А – гидроизоляция законцовки опоры; Б – устройство подсыпки и закрепление кольев опалубки; В – монтаж досок опалубки и укладка гидроизоляции; Г – укладка нижних прутков арматуры; Д – завершение армирования и бетонирования; Е – лента-ростверк в окончательном виде;
1 – опора фундамента; 2 – битумная мастика; 3 – кисть; 4 – песчаная подсыпка; 5 – колья опалубки; 6 – верхние доски опалубки; 7 – нижние доски опалубки; 8 – пергамин; 9 – "лепешка" раствора; 10 – арматура; 11 – шнур обноски; 12 – ростверк; 13 – стена; 14 – отмостка; 15 – штукатурный слой; 16 – нулевая линия
– При наличии уклона (а он всегда есть) можно рекомендовать такую конструкцию опалубки для ростверка, в которой верхние доски имеют горизонтальную ориентацию, а нижняя доска укладывается с внутренней стороны опалубки по уклону (Рисунок 160).

Рисунок 160. Общий вид опалубки ростверка:
1 – опора; 2 – кол; 3 – верхняя доска опалубки; 4 – нижняя доска опалубки; 5 – песчаная подсыпка
– Монтаж опалубки начинается с забивки кольев. Для них лучше приобрести брус 50x50 или 40x40 мм. Расстояние между кольями вдоль ленты ростверка – не менее 2 м. Для точной их разметки натягивают шнуры обноски, отвечающие внешнему и внутреннему контуру стен дома. Верхний обрез кольев должен располагаться на нулевой отметке. Если высота кольев больше 50 см, то для обеспечения жесткости крепления их законцовки можно попарно соединить горизонтальной планкой (Рисунок 161, а).

Рисунок 161. Опалубка ленты-ростверка:
А – высокого сечения; Б – низкого сечения; 1 – колья опалубки; 2 – верхние доски; 3 – нижние доски; 4 – песчаная подсыпка; 5 – опора фундамента; 6 – гидроизоляция; 7 – горизонтальная планка
– Закрепление верхних досок опалубки следует начинать от нулевой отметки и выполнять сверху вниз. Доски для опалубки лучше применять обрезные, одного сортамента (22x150 мм, 25x180 мм…). Использование досок от старых строений не рекомендуется, т.к. работать с ними существенно сложнее, а результат окажется менее качественный. Позднее доски опалубки можно использовать при устройстве перекрытий и кровли. Гвозди крепления досок опалубки к кольям должны быть тонкими и небольшой длины (50x16 или 60x18), т.к. они забиваются без сильных ударов и не вызывают смещение каркаса опалубки. Крепление досок на тонких "саморезах" – более оправданное решение, т.к. их применение исключает ударное воздействие на колья.
– Нижние доски опалубки укладывают на песчаную подсыпку и прикрепляют к верхним "внахлест" гвоздями или "саморезами". Для более жесткого крепления нижних досок в зазор с кольями заводят прокладку в толщину доски.
– В опалубку укладывают гидроизоляцию (пергамин, разрезанный вдоль полотна пополам). В зонах выхода опор в пергамине вырезаются ответные отверстия (Рисунок 159, в). Вырезанный кусок пергамина оставляют на месте. Гидроизоляция необходима не только для того, чтобы бетонная смесь не потеряла цементное молочко, но и чтобы она не пропитала песчаную подсыпку, не создала из нее прочный трудноудаляемый бетонный массив. Песок вокруг законцовки можно немного удалить, сделав кольцевую канавку глубиной 2…3 см. При бетонировании ростверка бетон, затекший в нее, образует кольцевой выступ, фиксирующий опору более надежно (Рисунок 162).

Рисунок 162. Устройство кольцевого выступа:
1 – ростверк; 2 – опора; 3 – кольцевой выступ; 4 – опалубка; 5 – песчаная подсыпка; 6 – гидроизоляция


Вариант 1
Вариант 2
Вариант 3
Дальше на ⇒
Армирование и бетонирование
⇐ Назад на
Устройство ростверка