Обустройство лестницы между двумя балками. Крепление промежуточных потолочных балок. Разметка ступеней лестницы при помощи шаблона. Членение лестничного марша из книги Самойлова B.C. «Строительство деревянного дома».

Сооружение деревянной лестницы

Начинают сооружение лестницы с устройства проема в междуэтажном перекрытии, от размера и расположения которого зависят основные параметры лестницы (рис. 137). Идеальным считается вариант, когда проем устраивают между двумя несущими балками. Если расстояние между несущими балками недостаточно для проема, вырезают одну или две несущие балки чтобы ширина проема получилась равной ширине планируемой лестницы. Этот размер (как уже говорилось) зависит от интенсивности использования лестницы, ее вида и планировки первого этажа.

Обустройство лестницы между двумя балками
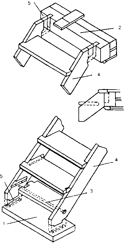
Рис. 137. Обустройство лестницы в проеме между двумя несущими балками:
1 - выпиливание проема; 2 - балка перекрытия; 3 - тетива; 4 - оформление проема; 5 - проступь

Длина проема должна быть такой, чтобы при выбранном уклоне марша человек, поднимаясь по лестнице, не касался головой потолка или потолочных балок. То есть, в любом положении над головой перемещающегося по лестнице человека должно оставаться свободное пространство. При устройстве проема нужно принять все меры, чтобы несущая способность потолочного перекрытия не была ослаблена. Для этого между двумя несущими потолочными балками устанавливают поперечные бруски с сечением, равным сечению несущих балок (рис. 138).

Крепление промежуточных потолочных балок
Рис. 138. Крепление промежуточных потолочных балок к поперечным брускам (отмечено кружком) и заделывание поперечных брусков в кирпичную стену:
1 - поперечные бруски; 2 - угловой кронштейн

↓ К теме ↓
Лестница из половых досок
Лестница из половых досок

Одномаршевые лестницы считают самыми простыми и могут изготавливать как на тетивах, так и на косоурах. Для изготовления одномаршевой лестницы следуете первую очередь подобрать пиломатериалы такой длины и ширины, чтобы тетивы или косоуры получились целыми, без сращивания. Добротная и красивая лестница может получиться только при условии правильной разметки ее тетив или косоуров. Все отклонения при разметке немедленно скажутся на конструкции лестничного марша, вызывая его перекосы.

Разметку выполняют при помощи линейки или специально для этого изготовленного шаблона. Шаблон представляет собой прямоугольный треугольник, гипотенуза которого располагается вдоль верхней кромки несущей балки, а катеты обозначат высоту подступенка и ширину проступи. Перемещая треугольник вдоль кромки несущей балки, размечают все ступени лестничного марша (рис. 139).

Разметка ступеней лестницы при помощи шаблона
Рис. 139. Разметка при помощи шаблона:
1 - линия отреза; 2 - опорная линия; 3 - перемещающийся шаблон

Выбор гнезд для крепления ступеней лестничного марша зависит от типа лестницы. Если предпочтение отдают лестнице на тетивах, то для крепления проступей делают пазы, а в лестницах на косоурах для ступеней вырезают треугольные выборки, получая боковую линию в виде пилы. Одна сторона зубьев такой "пилы" предназначена для установки ступеней, а другая – служит для крепления подступенка. Марш собирают и только после этого монтируют по месту. Крепление маршей к конструкциям деревянного дома зависит от конструктивного исполнения перекрытий. Чаще всего марши снизу и сверху крепят к поперечным соединительным балкам, закрепленным в конструкции перекрытий (рис. 140). Нижняя часть лестничного марша может крепиться непосредственно к деревянному полу.

крепление одномаршевой лестницы к балкам
Рис. 140. Вариант крепления одномаршевой лестницы к поперечным опорным балкам:
1 - нижняя опорная балка; 2 - верхняя опорная балка; 3 - стяжка конструкции; 4 - тетива; 5 - соединение "гребень-паз" на клею

Установка прямой одномаршевой лестницы является не единственным и далеко не лучшим вариантом. Такой лестничный марш занимает много полезной площади пола, а при попытке увеличить крутизну лестницы становится неудобным. Для того чтобы избежать этого недостатка, сооружают поворотные лестницы.

Поворот лестничного марша предусматривает его разделение на две части и промежуточной площадки. Место и способ установки лестничной площадки выбирается, исходя из удобства размещения лестничных маршей, беспрепятственного подхода к ним, возможности крепления площадки и т.д. При этом площадка не обязательно должна делить марш на две равные половины. Иногда к площадке ведет всего несколько ступеней, а после нее начинается основной лестничный марш (рис. 141). В этом случае может даже не понадобиться сооружение перильного ограждения на маленьком лестничном марше (если количество ступеней не превышает три).

Членение лестничного марша
Рис. 141. Членение лестничного марша:
1 - промежуточная площадка; 2 - площадка второго этажа; 3 - косоур; 4 - центральный брус (стойка)

Поворот лестницы может быть выполнен и без промежуточной площадки. В этом случае в поворотной части лестницы сооружают забежные ступени, которые своей клинообразной формой позволяют разворот марша на любой угол.

Глава 12. Лестницы деревянного дома
Самойлов B.C. Строительство деревянного дома. ООО "Аделант" 2006; стр. 255-262

Дальше на ⇒
Ограждение деревянных лестниц

⇐ Назад на
Выбор места и вида лестницы